您当前的位置:首页>>知识教程>>建站问题

阿里云服务器使用教程

时间:2021-06-30 07:48:52 阅读:426人已围观

一、阿里云服务购买,建议购买CentOS系列,为了操作方便,可以安装宝塔linux面板

二、安装宝塔面板方法:

1、用阿里云后台自带终端(推荐),登录阿里云,进入云服务器 ECS,【实例与镜像】-【实例】-左上角最顶部选择服务器所在地区(有点隐蔽),比如选【华北2 北京】





点击【远程连接】-【Workbench远程连接】-输入密码(第一次登录有显示密码,记得保存)

在远程终端页面,一次性粘贴内容,按回车键:

curl -sSO http://download.bt.cn/install/install_panel.sh && bash install_panel.sh


微信截图_20230905111517.jpg

等宝塔面板自动安装完成(中间若出现是否安装*Y/N?时,输入y,按回车键)。安装完成后,再命令行输入bt,这个时候就会显示面板的使用帮助菜单选项。这时候我们输入数字14,就能看到宝塔面板的登录地址还有用户名和密码。
把登录地址复制到浏览器打开,输入用户名和密码,进入到宝塔面板的后台管理页面。

2、用xshell或xftp登录阿里云服务器


用其他SSh远程工具,比如:Xshell,宝塔SSH远程终端(www.bt.cn),需要以下登录信息:

IP地址111.111.xxx.xxx(公网)

SSH默认账户为 root

SSH初始密码为 *********(后台邮件信息可看)

默认SSH端口是22,注意保存。


一、网络下载xshell软件(https://www.filezilla.cn/download)或者xftp软件,并且安装
二、点击左上角【+】图标可以新建回话
三、【主机】填公网ip,远程登录Linux实例时,默认用户名是root,远程登录Windows实例时,默认用户名是administrator。

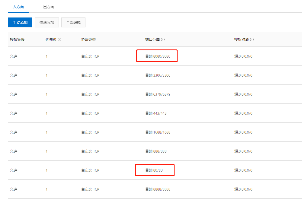
若是http://ip:8080不能访问,开通【添加安全组规则】【8080/8080】和【80/80】端口。
操作:实例列表页面,点击-更多-网络和安全组】-【安全组配置】-【配置规则】,添加【8080/8080】和【80/80】端口,授权对象:0.0.0.0/0。




绑定宝塔面板账号

首先解释下为什么要绑定宝塔面板账号:每一台云服务器上安装了宝塔面板之后都需要去绑定你在宝塔面板官网上注册的 宝塔账号 这样每台云服务器的宝塔面板都可以享受你这个账号的付费服务了。例如你在宝塔面板官网申请的免费ssl安全证书,只需要申请一次,以后你的多台云服务器都可以用到你申请的ssl证书。


宝塔安装LNMP网站环境。LNMP网站环境是Nginx+Mysql+PHP+Pure-Ftpd+phpMyAdmin的组合搭配网站程序环境,登录宝塔面板后安装,然后就可以搭建网站了。

宝塔面板-网站-搭建网站


伪静态设置:宝塔面板-网站-设置-伪静态,nginx环境pbootcms伪静态:

location / {

if (!-e $request_filename){

rewrite ^/(.*)$ /index.php?p=$1 last;

}

}



阿里云轻量应用服务器

地址:https://www.aliyun.com/product/swas

点击实例ID,在应用详情可以找到:

外网面板地址:/etc/init.d/bt default 

宝塔用户名命令查询命令:sudo /etc/init.d/bt default | grep username

宝塔登录密码获取命令:sudo /etc/init.d/bt default | grep password


标签: